【中心简介】
高效燃烧技术中心以德国林德公司纯氧、富氧燃烧技术为核心,致力于烧结、球团、石灰窑、高炉、轧钢加热炉、钢包烘烤过程、废钢与铁合金预热系统改造,可节约天然气等燃气50%以上,缩短烘包时长60%,减少氮氧化物排放70%以上、碳排放50%以上。
水煤浆高效洁净燃烧技术



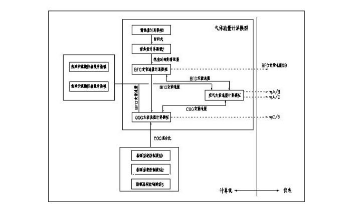
高炉热风炉燃烧控制模型







超大型4段蓄热式高速燃烧技术






2026年05月27日
星期三
会员登录|
注册会员
2021-10-25 16:48:24
来源:现代冶金(南京)研究院
浏览623次
【中心简介】
高效燃烧技术中心以德国林德公司纯氧、富氧燃烧技术为核心,致力于烧结、球团、石灰窑、高炉、轧钢加热炉、钢包烘烤过程、废钢与铁合金预热系统改造,可节约天然气等燃气50%以上,缩短烘包时长60%,减少氮氧化物排放70%以上、碳排放50%以上。
水煤浆高效洁净燃烧技术



高炉热风炉燃烧控制模型







超大型4段蓄热式高速燃烧技术





