2026年05月12日

星期二

公共服务
联系我们
江苏省钢铁行业协会
协会地址 : 南京市御道街58-2号 明御大厦703室
咨询热线 : 025-84490768、84487588
协会传真 : 025-84487588、84490768
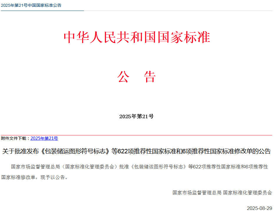
标准发布 | 中华人民共和国国家标准发布公告(2025年第21号)

2025-09-05 08:55:40

来源:钢铁标准网

浏览796

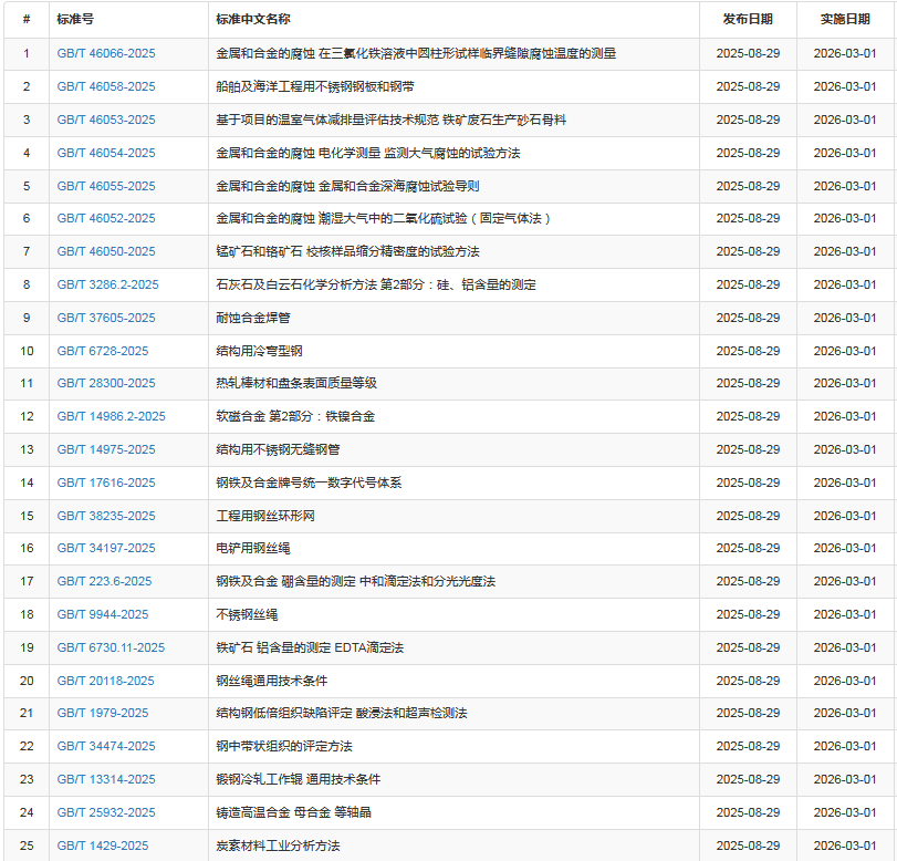
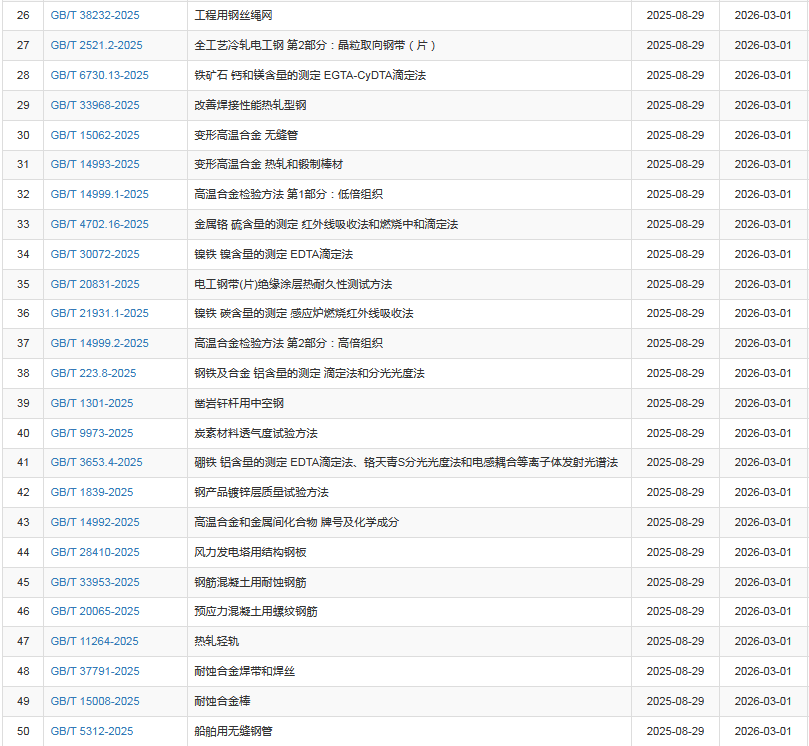
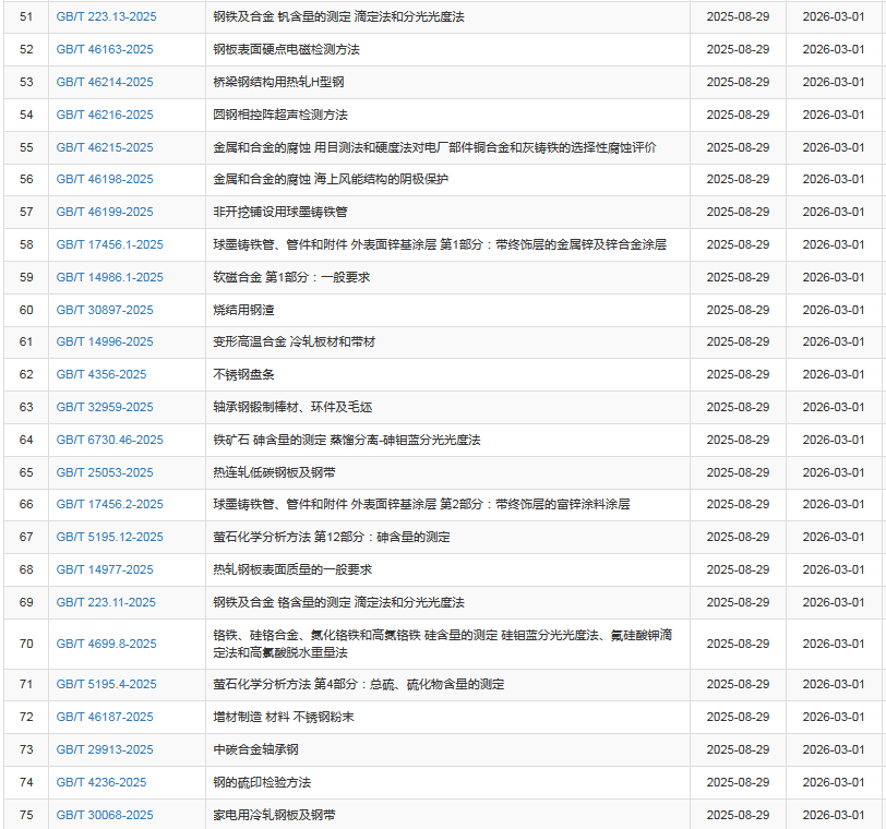
近日,国家市场监督管理总局(国家标准化管理委员会)批准发布622项国家标准和6项国家标准修改单,其中钢铁领域国家标准93项,公告和具体标准如下: